Toggle navigation
KONE Spares
1-800-343-3344
Home
Request Quote
Main Website
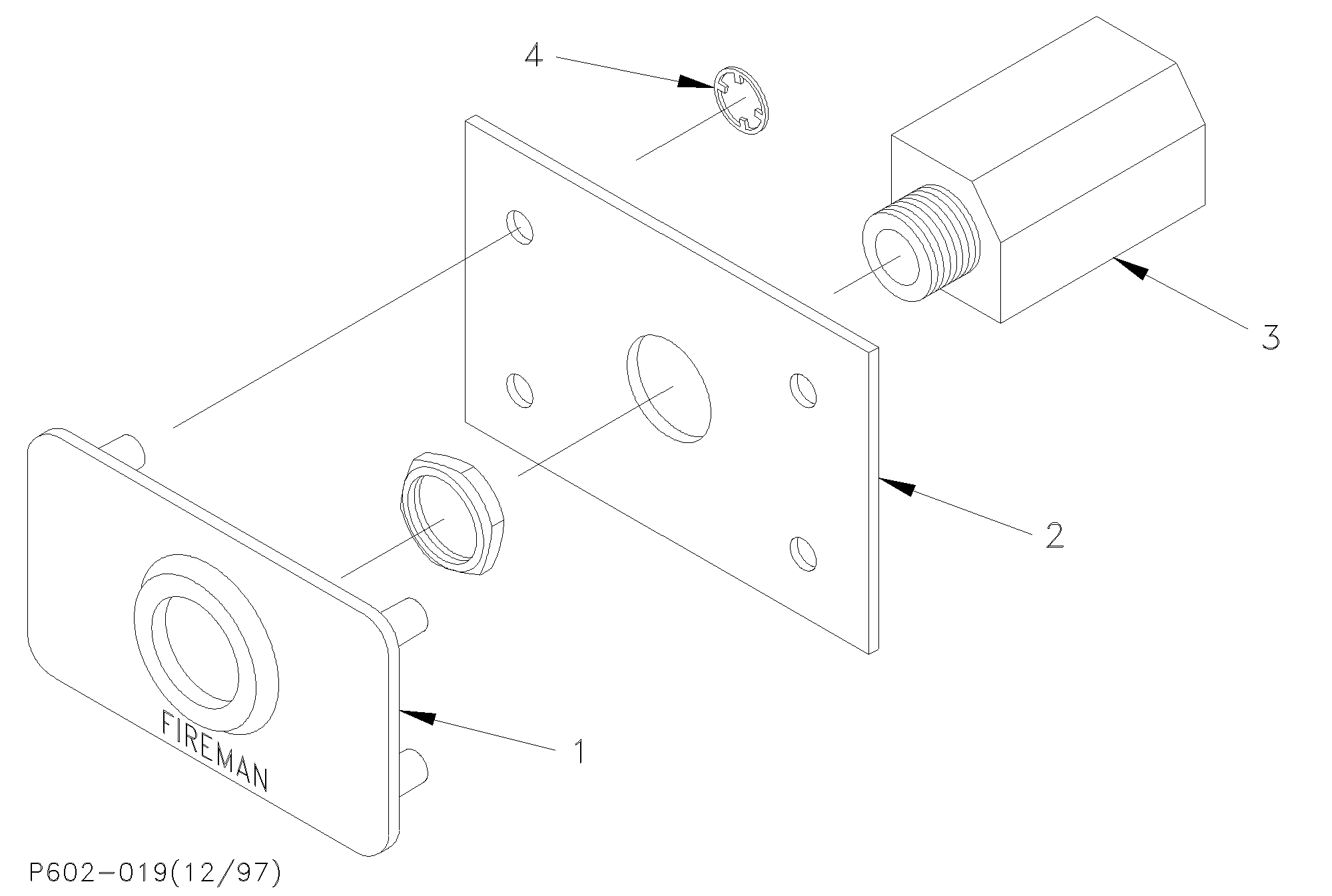
Series 220 Fireman phone jack assembly
Select a Part for Details:
1 - US63652011 - PLATE,LEGND,220,FIRE
3 - US63880001 - JACK,TELEPHONE,.25 FEMALE
Click to Enlarge
×
Quote